
FP、FS型塑料離心泵
產品分類:塑料泵
口徑(進口/出口):20-80/15-65mm
流量范圍:1-50m3/h
揚程范圍:5-32m
一、概述
FP型增強聚丙烯離心泵、FS型工程塑料離心泵系列產品均采用機械密封,使用CFR-PP(增強聚丙烯)、改性ABS(工程塑料)作為泵的材質,其結構合理、重量輕、體積小、壽命長。,廣泛應用于化工,食品、制藥、電鍍、造紙、環(huán)保、水處理等部門,輸送酸、堿、鹽等腐蝕性液體。其中104型采用220V電壓,可供家庭選用。
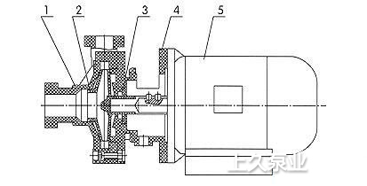
二、結構圖

1、泵殼 2、葉輪-軸總成 3、機械密封 4、泵蓋 5、電機
三、型號說明
如:FP(FS)32-25-100(104)
FP --增強聚丙烯離心泵
FS --工程塑料離心泵
32 --進口直徑(mm)
25 --出口直徑(mm)
100 --葉輪名義直徑(mm)
(104) --代號104
四、性能參數:
|
型號 |
口徑 |
流量 m3/h |
揚程 m |
吸程 |
轉速 r/min |
電壓 v |
電機 功率 kw |
|
|
進口 |
出口 |
|||||||
|
20-15-100 (105) |
20 |
15 |
3 |
7 |
4 |
2900 |
380 |
0.75 |
|
32-25-100 (104) |
32 |
25 |
4 |
7 |
6.5 |
220 |
0.55 |
|
|
32-25-105 (103) |
32 |
25 |
6.3 |
8 |
6.5 |
380 |
0.75 |
|
|
40-32-125 (102) |
40 |
32 |
12.5 |
20 |
6.5 |
380 |
1.5 |
|
|
50-40-130(101.5) |
50 |
40 |
13 |
22 |
6 |
380 |
2.2 |
|
|
65-50-150 (101) |
65 |
50 |
25 |
25 |
6 |
380 |
4 |
|
|
50FP-22 |
50 |
40 |
13 |
22 |
6 |
380 |
2.2 |
|
|
65FP-25 |
65 |
50 |
20 |
25 |
6 |
380 |
4 |
|
|
80FP-28 |
80 |
65 |
50 |
28 |
4 |
380 |
5.5 |
|
|
80FP-32 |
80 |
65 |
50 |
32 |
4 |
380 |
7.5 |
|
五、泵故障形式與排除方法
|
故障形式 |
產生原因 |
排除方法 |
|
泵不出液 |
|
|
|
流量不足 |
|
|
|
揚程過低 |
|
|
|
噪音過低 |
|
|
|
漏液 |
|
|
版權所有 © 滬ICP備 11024687號 上海上久泵業(yè)制造有限公司
滬公網安備 31010702002167號
聯系人:林先生 聯系電話:021-62821119 E-mail:[email protected] 技術支持:上海珍島 ![]()